经常有企业向我反馈,在做百度搜索推广时,只见广告费大把大把地烧,却不见咨询。而引起这种状况的几种可能性,他们也早已排查过,比如说来自于百度网盟的恶意点击,网站内容不丰富,着陆页面设置不合理,联系方式过少等等。如果以上问题都得到有效解决,仍然增加不了咨询量,这时就要考虑与你同时做搜索推广的竞争对手因素了。但我这里绝对不是指遭到竞争对手的恶意点击,尽管许多做百度竞价广告的企业认为恶意点击主要来自于竞争对手,但我向来认为,竞争对手的恶意点击对于正常工作的网络营销人员起不到多大作用。我真正的意思是,我们的搜索推广着陆页面以及网站的重要页面,与对手的有了差距而造成咨询量低。
其实研究竞争对手,也是我为一些企业做网络营销咨询时,必做的市场调研环节之一。但大多数小微企业考虑到咨询成本问题,省略了线上市场调研的工作,而直接就开始做搜索推广,忽略了竞争对手的因素。就算平时网络营销人员经常去主要竞争对手的网站上研究页面,但如果不是按客户的浏览轨迹访问页面,可能发现不了关键问题,甚至根本找不到着陆页面。比如,一篇有关仓储服务报价的页面,通过网站的页面一级一级找,是很难找得到,只有在百度上搜索类似于“上海仓库多少钱一平方”这样的关键词,你有可能找到各家有关价格的广告和着陆页面。你之所以在网站上看不到这篇文章,是因为精明的对手并不想让这篇文章被其他访问者(竞争对手、搜索其它词的客户)看到,毕竟价格是个敏感话题,报高了人家不咨询,报低了要么利润少了,要么在忽悠客户。只有搜索有关报价的访客才能看到这篇文章。
这里所提到的竞争对手,可不一定是线下的那些行业龙头企业,因为这些龙头企业品牌知名度高,并不一定需要全力在线上做推广。我们这里指的一定是线上竞争对手,而且是搜索各种关键词,其广告总能出现的竞争对手,特别是那些比你实力差但搜索推广做得不错的对手。
这种实力差的竞争对手有两种营销策略,而这两种策略都需要我们关注。第一种策略是,既然我企业的实力差,那就需要在线上做得比别人好,我花钱请美工和文案在内容和创意上做得更完美;第二种策略是,我的企业实力差,我也花不起钱请专业的美工和文案超越那些有实力的对手,那我就以低成本抄呗,哪家网站好看,内容丰富,我就抄哪家。
相对来讲,我们对付第一种还好办些,就是“适当”研究对方,不断地学习对方的长处,不至于客户认为对方好,我们差,至少会把两家都作为咨询的供应商,那会让我们咨询量增加。最头疼的是第二种,你真是有种光脚的不怕穿鞋的感觉,比如你如实写了一段介绍:“我公司15年来服务了200家客户”,对方的网站立刻就改成:“我公司20年来服务了300家客户”。如果好几个竞争对手都是这么写的,会让客户怎么想?他会以为15年服务200家客户的供应商可能是个行业新手,他就去联系那些20年以上的竞争对手。遇到这种情况,你还不能跟着胡扯,比如你来个“30年服务于500家客户”的广告,当心因为虚假宣传而被人举报,受到工商局的处罚。当然你也可以采用这种法律的手段捍卫自己的权益。
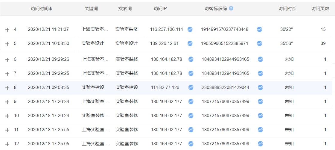
我之所以说要“适当”研究对手,而不是说在某一时间全面研究对手,是因为有个技术问题要解决,就是在研究时,要不得不点击竞争对手的广告。如果你是不断地去点击对手广告,以你现有的技术(使用同一IP地址和设备),是很容易被竞争对手识别,并加以屏蔽,这样你下次再想点击广告时,就看不到对手的广告,也就失去了研究的意义了。如下图某家企业搜索推广的数据中,很明显第9、10、11、12条数据都是来自于一个IP地址和访客,那么今后该访客想再通过同样的IP或者电脑点击广告就不可能了。

所以我建议最好是每次就一个搜索词点击广告后,在对手的着陆页面上进行深入研究,并浏览多个重要的页面,至少让对手不舍得把你屏蔽,就像上图的第4、5条数据,访问时长都是30分钟以上,访问页数都超过了10页,如果不分析每个页面的访问轨迹,一般人是分不清这两条是对手还是客户的访问数据。
我平时在研究竞争对手网站时是不用点击对方的广告,而是直接复制广告下方的网址,如上图,这是一种职业操手,只有为了查看着陆页面时才会偶尔点击广告,注意上图第二条广告没有网址,只是一个公司品牌名称,这样的设置虽然提高了品牌知名度,但代价是遭到研究者的点击会增加。那有没有办法不点击广告查看对手的着陆页面呢?有的,当然这需要竞争对手的配合。做过百度搜索推广的朋友都知道,在百度后台设置广告创意时,有一栏是填写的是链接网址和显示网址,如果把链接网址和显示网址统一起来,那么就有可能让研究者不用点击广告,而直接复制网址访问着陆页面。见下图:
1.着陆页面的主题内容与搜索词是否相符:
如果客户搜索的是“3D打印机报价”,进到你的页面,看不到任何有关价格的内容,这叫挂羊头卖狗肉,他不咨询的概率就很大。2.着陆页面的品牌形象风格:
什么样的风格就会吸引什么样的客户。如果想吸引更大的客户,就需要有大气,时尚的风格。3.着陆页面的卖点:
卖点体现在着陆页面的banner图、广告语、标题和正文图片上,不可能指望客户在快速浏览时,首先读取正文的小字。尽可能将企业的品牌优势(也叫卖点)在着陆页面上醒目地展现出来。4.着陆页面的配图:
尽可能配合主题,选用合适的广告图和说明书,图片要达到精美。5.完整的相关链接体系:
如果一位访客看完从广告进来的着陆页面后就关掉了,那我们的跳失率就是100%,只要他看了第二页,跳失率就为0%。所以在页面的各个位置引导客户继续看他感兴趣的页面,可以大大降低搜索推广的跳失率。比如,客户在看了“生物实验室装修”的页面后,在该页面的底部列出几家生物医药公司的成功案例链接,是非常有利于转化出咨询量。因为客户都喜欢有多个类似案例的供应商。6.联系方式的获取方便性:
一个转化率高的着陆页面,一般都有完善的联系方式设置,一般在顶部的右上角会有电话联系方式,在页面右侧一直滚动着的是在线沟通工具(如百度商桥或者商务通等),在底部也很容易找到更多的联系方式(微信、QQ等)。7.链接页面的配合度:
如果我们把广告的着陆页面都做得很完美,客户有了兴趣,自然会想看看其它页面,比如关于我们页面(看看这家企业的实力),成功案例页面(看看这家企业的客户多不多,真实性如何),解决方案页面(特别是关于客户的行业解决方案,够不够专业)……如果这些页面不给力,与着陆页面差距太大,仍然转化不了相应的咨询量。所以需要这些页面达到上面列出的1-5条要求。通过以上对比,基本上能准确评估出我们与竞争对手着陆页面的差距,进而进行必要的优化,来提高咨询量。当然这只是提高咨询量的一个点,更多提高咨询量的点。